В этом браузере сайт может отображаться некорректно. Рекомендуем Вам установить более современный браузер.
Chrome Safari Firefox Opera ExplorerУралхиммаш – один из ведущих производителей средне- и крупнотоннажного емкостного оборудования в России. Завод проектирует, производит и выполняет монтаж емкостного оборудования в блочном исполнении по техническим требованиям заказчика и типовым проектам.
| ПРОДУКЦИЯ_ОБОРУДОВАНИЕ В БЛОЧНОМ ИСПОЛНЕНИИ | ||
|---|---|---|
|
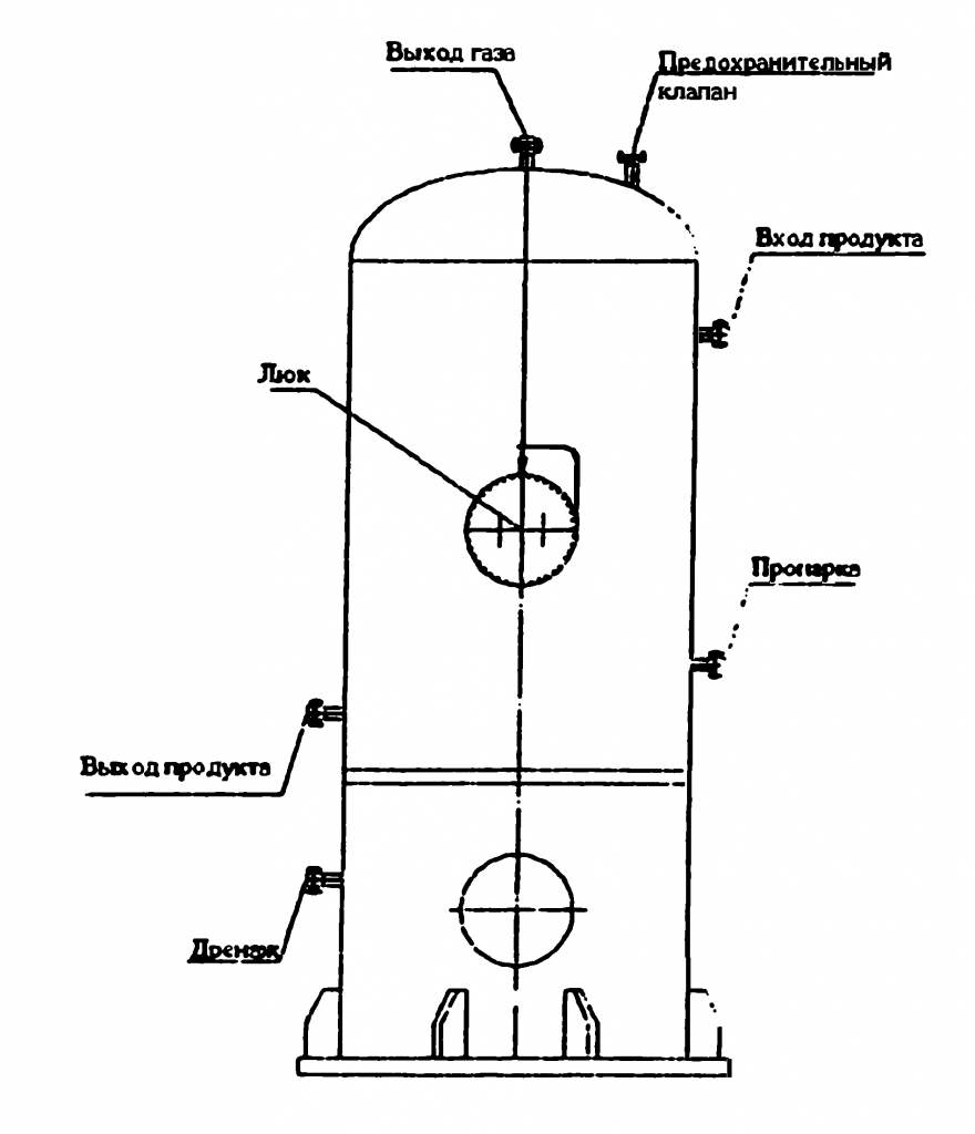
Аппараты емкостные цилиндрические для газовых и жидких сред |
Внутренний объем (вместимость): от 2 до 200м³. Температура среды: не ниже минус 60ºС. Рабочее давление: от 1 до 16 МПа. Могут быть изготовлены как в горизонтальном, так и в вертикальном исполнении.
|
Аппараты горизонтальные
|
|
Аппараты емкостные подземные горизонтальные дренажные (снабженные насосным агрегатом)
|
Внутренний объем (вместимость): от 6 до 100м³. Температура среды сливаемых продуктов: от минус 60ºС до 200ºС. Рабочее давление: до 0,07 МПа. Удаление среды из емкости осуществляется насосными агрегатами типа ГДМП, либо ВНГ-ц. |
|
|
Аппараты емкостные подземные, работающие под давлением |
Внутренний объем (вместимость): от 4 до 100м³. Температура среды: не ниже минус 60ºС. Рабочее давление: от 0,6 до 16 МПа. Удаление среды из аппарата осуществляется передавливанием |
|
|
Аппараты емкостные подземные, работающие под давлением до 1,0 МПа (снабженные насосным агрегатом) |
Внутренний объем (вместимость): от 4 до 100м³. Температура среды (сливаемых продуктов): от минус 60ºС до 200ºС. Рабочее давление: не более 1,0 МПа. Удаление среды из емкости осуществляется насосным агрегатом типа ГДИП, либо ВНГ-ц. |
|
|
Аппараты емкостные двустенные подземные, снабженные насосным агрегатом (Д). |
Внутренний объем (вместимость): от 10 до 100м³. Температура среды сливаемых продуктов: от минус 60ºС до 250ºС. Рабочее давление: в емкости – атмосферное, в межстенном пространстве – 0,03 МПа. Удаление среды из емкости осуществляется насосными агрегатами типа ГДМП, либо ВНГ-ц. |
|
Аппараты и их блоки предназначены для эксплуатации на объектах газовой и нефтяной промышленности.
Завод выпускает аппараты емкостные и их блоки, работающие под давлением не более 16 Мпа, без давления (под налив), при температуре стенки не ниже минус 60ºС.
Допустимая сейсмичность района эксплуатации наземных аппаратов не более 9 баллов. Для подземных аппаратов сейсмичность района эксплуатации и район территории по скоростному напору ветра не регламентируется.
Допускается изготовление аппаратов из других материалов, допущенных к применению ОСТ 26 291-94, ОСТ 26-18-5-88.
Допускается по согласованию со специализированной организацией и органами Госгортехнадзора России применение материалов, в том числе импортных, изготовленных по другим стандартам и техническим условиям.
Состав блока: аппарат, металлоконструкции (площадка, рама), трубопроводная обвязка с арматурой, приборы КиП и т.д.
Комплектация аппарата насосным агрегатом полупогружного типа, предназначенного для откачки продукта, осуществляется в соответствии с требованиями конструкторской документации.
При изготовлении аппаратов, подлежащих теплоизоляции по санитарным нормам и от теплопотерь, а также для предотвращения растепления грунтов для поземных емкостей могут быть предусмотрены скобы для крепления теплоизоляции.
Аппараты не являются источником шума, вибрации и вредных выбросов в зоне их обслуживания и не оказывают отрицательного воздействия на окружающую среду.
Аппараты снабжены устройством для заземления для предотвращения накапливания статического электричества.
Аппараты и блоки (сборочные единицы, детали), материалы и комплектующие изделия принимаются отделом технического контроля предприятия и проверяются на соответствие техническим условиям, конструкторской документации и других регламентирующих документов.
Каждый аппарат подвергается приемо-сдаточным испытаниям, включая проверку:
При приемо-сдаточных испытаниях блока дополнительно проходит проверка на правильность установки приборов и арматуры и пр.
Аппараты транспортируются железнодорожным, водным или автомобильным транспортом.
Аппараты транспортируются без упаковки на подкладных брусьях.
620010, Свердловская область,
г. Екатеринбург, пер. Хибиногорский, 33.
Телефон: +7 (343) 310-08-00 E-mail: general@ekb.ru